
特 点
* 采用彩色液晶显示屏,功能参数一目了然。
* 自动破锡、绕锡,效率高。
* 破锡参数储存功能,便于直接调用,出锡速度可调。
* 自动V槽(打孔) 破锡,可根据锡丝直径不同自由调节破锡深度。
产品概述
* 本产品集自动破锡、绕锡为一体。破锡刀片对锡丝开V槽,焊接过程中助焊剂通过这些孔释放出来,解决由于“锡爆”而引起的助焊剂溅污和焊料球,从而避免产品被助焊剂污染、锡珠短路不良。
主界面显示说明

参数规格
型号 | QUICK 300C | QUICK 300D |
破锡方式 | 刀片 | 锯片 |
工作电压 | AC 220V | |
绕锡速度 | 60mm/s~230mm/s | |
卷轴直径 | 12~50mm | |
卷轴高度 | 10~80mm | |
电 机 | 步进电机 | |
锡线直径 | 0.6~1.6mm | |
外部尺寸 | 437*286*402mm | |
重量 | 约14.2 kg | |
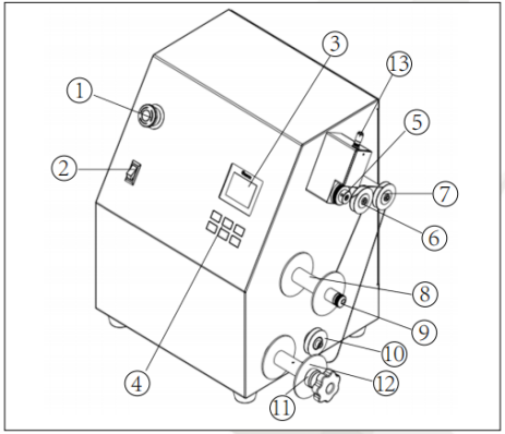
部件说明


按键说明
